The Ultimate Guide to Understanding Noma Snowblower Parts Diagram Included

Noma Snowblower Parts Diagram. The Ultimate Guide to Understanding Noma Snowblower Parts Diagram Included Download the manual for model Noma G2794010 gas snowblower Complete exploded views of all the major manufacturers.

Noma 5hp Snowblower Parts
Noma 5hp Snowblower Parts from schematicmaxeywheezle.z21.web.core.windows.net

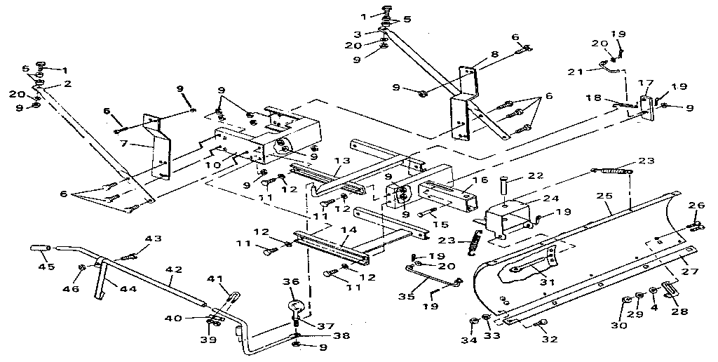
Noma Snowblower Parts Diagram for Easy Maintenance For efficient operation and smooth performance, it is crucial to have a clear understanding of how various elements of machinery fit together Noma G2794010 gas snowblower parts - manufacturer-approved parts for a proper fit every time! We also have installation guides, diagrams and manuals to help you along the way!

Noma 5hp Snowblower Parts

Noma G2794010 gas snowblower parts - manufacturer-approved parts for a proper fit every time! We also have installation guides, diagrams and manuals to help you along the way! Identifying and knowing the functions of each part helps ensure proper usage and timely maintenance, ultimately extending the life of the equipment. Are you looking for information on using the Noma G2794010 gas snowblower? This user manual contains important warranty, safety, and product feature.

The Ultimate Guide to Understanding Noma Snowblower Parts Diagram Included. Noma, AMF, Dynamark, Western International, Canadiana, Troybilt, Scotts Snowthrowers ( 3865 models ) Model NS1233DEL NOMA NOMA For power equipment parts and accessories, think Jack's! Noma Snow Blower Categories Noma Auger Parts

Noma Snowblower Parts Diagram Atkinsjewelry. A well-structured overview of the various elements allows users to identify parts quickly, facilitating maintenance and repairs. We sell parts & accessories for your Briggs & Stratton equipment.